8 (925) 663-83-63Call-центр
пн-вс: 10:00-19:00
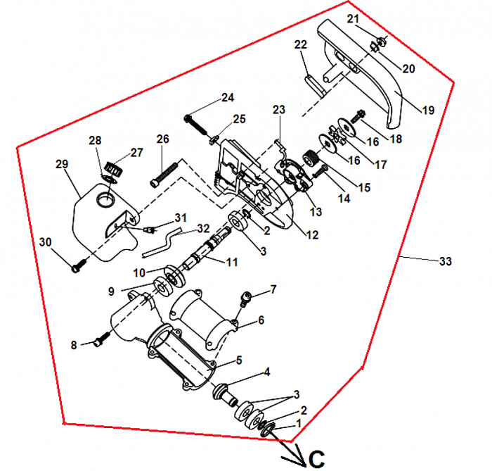
| N | Артикул | Название | Срок отгрузки | Цена | Купить |
| 1 | 03010010057 | Кольцо стопорное 28 | 5-7 рабочих дней | – | |
| 2 | 03120010002 | Кольцо стопорное 12 | 5-7 рабочих дней | – | |
| 3 | 03090010020 | Подшипник 6001-2RS | 5-7 рабочих дней | 100 р. | |
| 4 | 02020090120 | Вал-шестерня редуктора | 5-7 рабочих дней | – | |
| 5 | 80010040040 | Корпус редуктора | 5-7 рабочих дней | 704 р. | |
| 6 | 80010060022 | Крышка редуктора | 5-7 рабочих дней | 187 р. | |
| 7 | 03010010057 | Болт М5х25 | 5-7 рабочих дней | – | |
| 8 | 03010010061 | Болт М5х20 | 5-7 рабочих дней | – | |
| 9 | 03090010028 | Подшипник 6001 | 5-7 рабочих дней | 161 р. | |
| 10 | 02020090110 | Шестерня редуктора | 5-7 рабочих дней | – | |
| 11 | 02020090109 | Вал редуктора | 5-7 рабочих дней | – | |
| 12 | 80010040039 | Плата корпуса редуктора | 5-7 рабочих дней | – | |
| 13 | 02050130005 | Маслонасос | 5-7 рабочих дней | 596 р. | |
| 14 | 03010060055 | Болт М5х16 | 5-7 рабочих дней | – | |
| 15 | 02020090108 | Червяк маслонасоса | 5-7 рабочих дней | 532 р. | |
| 16 | 02050110021 | Шайба ведущей звездочки | 5-7 рабочих дней | – | |
| 17 | 02050110020 | Звездочка ведущая | 5-7 рабочих дней | 168 р. | |
| 18 | 03010030009 | Болт М6х10 | 5-7 рабочих дней | – | |
| 19 | 70030030460 | Крышка шины | 5-7 рабочих дней | 188 р. | |
| 20 | 02030030014 | Втулка крышки шины | 5-7 рабочих дней | – | |
| 21 | 03030050002 | Гайка крепления крышки шины | 5-7 рабочих дней | – | |
| 22 | 02080030033 | Прокладка | 5-7 рабочих дней | – | |
| 23 | 02080030031 | Уплотнение шланга маслонасоса | 5-7 рабочих дней | – | |
| 24 | 03010060050 | Болт натяжения цепи | 5-7 рабочих дней | 24 р. | |
| 25 | 03030070063 | Палец натяжения цепи | 5-7 рабочих дней | 51 р. | |
| 26 | 03010010034 | Болт М6х40 | 5-7 рабочих дней | – | |
| 27 | 70030060132 | Пробка масляного бака | 5-7 рабочих дней | 206 р. | |
| 28 | 02070020057 | Кольцо уплотнительное пробки | 5-7 рабочих дней | – | |
| 29 | 70050030103 | Бак масляный | 5-7 рабочих дней | 446 р. | |
| 30 | 03020020052 | Болт М5х20 | 5-7 рабочих дней | – | |
| 31 | 02080040010 | Клапан сапуна | 5-7 рабочих дней | – | |
| 32 | 01040010011 | Шланг масляный | 5-7 рабочих дней | 180 р. | |
| 33 | 61270030085 | Редуктор комплект | 5-7 рабочих дней | 9.231 р. |
| Найдено товаров: 33 |
|
8 (925) 663-83-63 Call-центр
пн-вс: 10:00-19:00
| Введите номер заказа |
| Введите номер своего заказа, что бы узнать его текущий статус. Что бы получить доступ к расширенным функциям, пройдите не сложную регистрацию. Зарегистрироваться |